成人做爰黄A片免费视频网站野外,成人免费看片APP下载,成人做爰A片免费看黄冈白狐影院,成人做爰黄级A片免费看土方,成人做爰A片AAA毛真人,成人做爰A片免费看网站性晶

技術熱線: 4007-888-234

ARM單片機的架構與工作原理

更新時間: 2020-12-07
閱讀量:20244

ARM單片機(Advance Risk Machine),它是世界上使用最廣泛的許可最多的處理器內核之一。第一個ARM處理器由劍橋大學于1978年開發,第一個ARM RISC處理器由Acorn Group of Computers在1985年生產。這些處理器專門用于便攜式設備,如數碼相機,手機,家庭網絡。 由于具有諸如低功耗,合理的性能等優點,這些模塊和無線通信技術以及其他嵌入式系統也可以使用。本文概述了ARM體系結構以及每個模塊的工作原理。

ARM架構

ARM體系結構處理器是先進的精簡指令集計算(RISC)機器,并且是32位精簡指令集計算機(RISC)單片機。它是由Acron計算機組織于1987年推出的。該ARM是由ST Microelectronics,Motorola等制造商開發的單片機系列。ARM體系結構具有完全不同的版本,例如ARMv1,ARMv2等,并且每個版本都有其自身的優點和缺點。

ARM架構


ARM皮質是ARM系列中具有ARMv7設計的復雜單片機。ARM cortex系列中有3個子系列:

ARM-Cortex Ax系列;
ARM-Cortex Rx系列;
ARM-Cortex Mx系列。

ARM體系結構

1.算術邏輯單元;
2.展位乘數;
3.桶式移位器;
4.控制單元。

本文中,英銳恩單片機開發工程師介紹了ARM的各個組件。

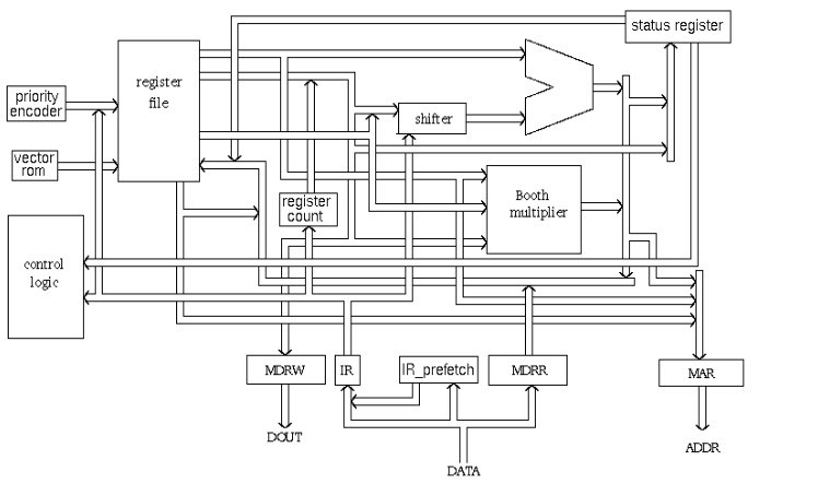
ARM處理器還具有其他組件,例如程序狀態寄存器,其中包含處理器標志(Z,S,V和C)。除中斷和快速中斷禁止位外,模式位還聯合存在于程序常規寄存器中。一些特殊的寄存器:一些寄存器用于指令,存儲器數據讀寫寄存器和存儲器地址寄存器。

優先級編碼器:編碼器用于多重加載和存儲指令中,以指出要加載或保留的寄存器文件中的哪個寄存器。

多路復用器:幾個多路復用器習慣于處理器總線的管理操作。由于項目時間有限,我們傾向于在行為模型中實施這些組件。每個組件都有一個實體描述。每個實體都有其自己的體系結構,可以根據其應用針對某些必要性對其進行優化。這使設計更易于構建和維護。

arm-block-diagram.jpg

算術邏輯單元(ALU)

ALU有兩個32位輸入。主要變量來自寄存器文件,而另一個變量來自移位器。狀態寄存器標志由ALU輸出修改。V位輸出轉到V標志,而Count轉到C標志。盡管最高有效位實際上表示S標志,但ALU輸出操作由NORed完成以獲取Z標志。ALU具有4位功能總線,最多可實現16個操作碼。

乘數因子

乘數因子有3個32位輸入,輸入從寄存器文件返回。乘數輸出僅是商品的32個最低有效位。上圖顯示了乘數因子的實體表示。每當開始的04輸入激活時,乘法就開始。完成后,輸出的Fin變高。

Booth算法

Booth算法是2補碼的值得注意的乘法算法規則。這樣可以統一對待正數和負數。此外,在不執行任何加法或減法的情況下,跳過乘數因子內的0或1的行程,從而可能實現更快的乘法。該圖顯示了乘法器測試臺的仿真結果。顯然,乘法僅在16個時鐘周期內完成。

桶式移位器

桶形移位器具有要移位的32位輸入。該輸入是從寄存器文件返回的,或者它可能是立即數據。移位器具有從指令寄存器返回的不同控制輸入。指令中的Shift字段控制桶形移位器的操作。該字段指示要執行的移位類型(邏輯左或右,算術右或右旋轉)。寄存器應該移位的數量包含在指令的立即數字段中,或者可能是寄存器文件中寄存器的低6位。

shift_val輸入總線為6位,最多允許32位移位。移位類型指示所需的移位種類00、01、10、11分別對應于左移位,右移位,算術右移位和右旋轉。桶形移位器特別是由多路復用器創建的。

控制單元

對于任何微處理器,控制單元都是整個過程的核心,它負責系統的運行,因此控制單元的設計是整個設計中最重要的部分。控制單元有時是純組合電路設計。在此,控制單元由簡易狀態機實現。處理器時序另外包含在控制單元內。來自控制單元的信號連接到處理器內的每個組件,以監督其操作。

ARM功能圖

必須解釋的最后一件事是ARM的使用方式以及芯片的顯示方式。與處理器接口的各種信號是輸入,輸出或監控信號,將用于控制ARM操作。

ARM功能圖

Cortex處理器的其他用途

1.它是精簡指令集的計算控制器

32位高性能中央處理器;
三級管道,緊湊型。

2.它具有THUMB-2技術

與16/32位指令合并;
高性能。

3.它支持工具和RTOS及其核心Sight調試和跟蹤

JTAG或2針串行線調試連接;
支持多個處理器。

4.低功耗模式

它支持睡眠模式;
控制軟件包;
多個電源域。

5.嵌套向量中斷控制器(NVIC)

低延遲,低噪聲中斷響應;
無需匯編編程。

以上就是英銳恩單片機開發工程師分享的ARM單片機的架構與工作原理。

單片機開發方案

欢迎光临: 壶关县| 兴宁市| 绩溪县| 兴安县| 剑河县| 石柱| 怀安县| 武邑县| 阿鲁科尔沁旗| 夹江县| 长宁县| 黎平县| 临澧县| 平阴县| 柘荣县| 鄂托克旗| 天祝| 商洛市| 读书| 永登县| 老河口市| 平南县| 铜鼓县| 海城市| 阜康市| 天柱县| 平邑县| 松阳县| 特克斯县| 灵台县| 平塘县| 台南市| 噶尔县| 江门市| 辽源市| 南和县| 陇川县| 桐乡市| 忻州市| 灌阳县| 曲周县|